欢迎关注,私信留信箱可得Word版,更多好资料会继续(答案在文末)
高中物理力学小专题3、受力分析与检验
一、受力分析的顺序:(1)先场力(重力,电场力等)(2)弹力(3)摩擦力,其中弹力和摩擦力接触力要逐个接触面排查.
二、受力结束后莫忘回头检验受力是否正确。
通常检验的方法是:自己画出的力能否让对象是否能保持原来运动状态.或者转换角度再做受力分析,比如原来整体分析,现在隔离分析。看看判断两次分析是否一致.
初试牛刀
1.如图所示,A、B两物体叠放在一起,用手托住,让它们静止靠在墙边,然后释放,使它们同时沿竖直墙面下滑,已知mA>mB,不计空气阻力,则物体B( )
A.只受一个重力
B.受到重力、摩擦力各一个
C.受到重力、弹力、摩擦力各一个
D.受到重力、摩擦力各一个,弹力两个
2.区伯伯在海边钓获一尾鱼,当鱼线拉着大头鱼在水中向左上方匀速运动时,如图所示,鱼受到水的作用力方向可能是( )
A.竖直向上 B.竖直向下
C.水平向左 D.水平向右
3.如图所示,白板水平放置在地面上,在白板上用磁钉吸住一张彩纸,向右轻轻拉彩纸,未拉动,对这情景受力分析正确的是( )
A.磁钉受到向右的摩擦力
B.磁钉仅受重力和支持力两个力
C.彩纸受到白板向左的摩擦力
D.白板与地面间无摩擦力
4.两相同的楔形木块A、B叠放后分别以甲、乙两种方式在水平外力F1和竖直外力F2作用下保持静止状态,如图4所示,则在这两种方式中,木块B受力个数分别为( )
A.4,4 B.4,3 C.5,3 D.5,4
5.(多选)如图甲、乙所示,倾角为θ的粗糙斜面上放置一滑块M,在滑块M上放置一个质量为m的物块,M和m相对静止,一起沿斜面匀加速下滑,斜面保持静止,下列说法正确的是( )
A.图甲中物块m受到摩擦力,方向水平向左
B.图乙中物块m受到摩擦力,方向平行于斜面向上
C.图甲中物块M受到5个力
D.图乙中物块M受到6个力
6.如图所示,两个相同的物体A、B叠在一起放在粗糙的水平桌面上,连在物体B上的轻绳通过定滑轮与空箱C相连,箱内放有一小球与箱内壁右侧接触,整个系统处于静止状态.已知A、B的质量均为m,C的质量为M,小球的质量为m0,物体B与桌面的动摩擦因数为μ,重力加速度为g,不计滑轮摩擦和空气阻力,下列说法中正确的是( )
A.物体A受到三个力的作用
B.小球受到三个力的作用
C.桌面受到物体的摩擦力大小为2μmg
D.桌面受到物体的摩擦力大小为(M+m0)g
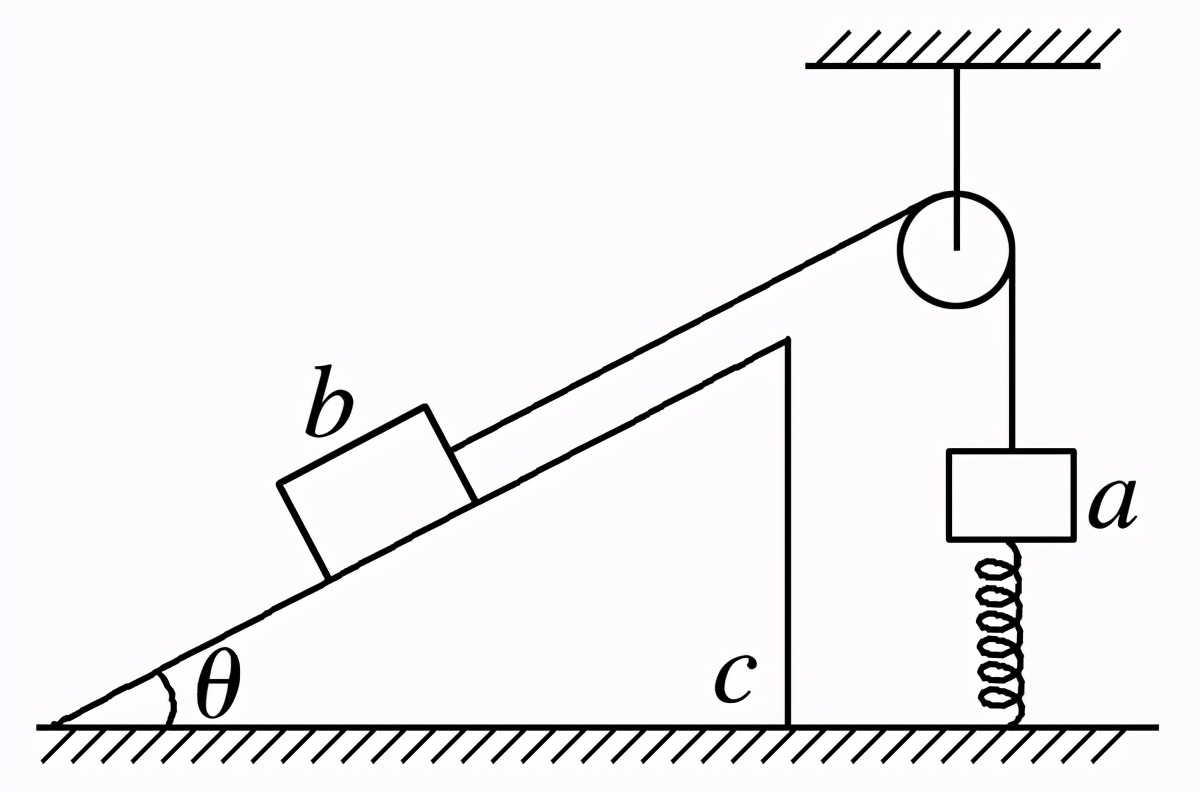
7.如图所示,倾角为θ的斜面体c置于水平地面上,物块b置于斜面上,通过跨过光滑定滑轮的细绳与小盒a连接,连接b的一段细绳与斜面平行,连接a的一段细绳竖直,a连接在竖直固定在地面的弹簧上.现向盒内缓慢加入适量砂粒,a、b、c始终处于静止状态,下列说法正确的是( )
A.c对b的摩擦力可能先减小后增大
B.地面对c的支持力可能增大
C.地面对c的摩擦力可能不变
D.弹簧的弹力可能增大
8.如图所示,放在斜面体上的物块A和斜面体B一起在光滑水平面上向右做匀速直线运动.关于物块A和斜面体B的受力情况的分析正确是( )
A.物块A对斜面体B的摩擦力沿斜面向上
B.斜面体B对A的支持力方向竖直向上
C.物块A受到4个力的作用
D.斜面体B受到A的作用力的合力在竖直方向上
1、A 2、D 3、C 4、C 5、ABC 6、D 7、A 8、D
