对人类而言,光是照亮世界万物的奇妙现象,自古以来人类探索光的脚步从未停止。
1822 年物理学家菲涅尔为改善灯塔照射效果,研发了一种同心圆纹路透镜,使得灯塔照射距离达到史无前例的 32000 米,这种特殊的结构被称为「菲涅尔透镜」。此后,菲涅尔透镜从灯塔延伸到单反镜头、投影仪、汽车大灯在内的千行百业,手机闪光灯亦是其一。
闪光灯与手机拥抱 20 年,还能怎么玩?
从 2002 年第一台搭载 LED 闪光灯三洋 SCP-5300 开始,闪光灯与摄像头拥抱已超过 20 年,期间不乏划时代的经典机型,例如,Sony Ericsson K790 的氙气闪光灯在亮度、光线均匀、作用范围上完成了对 LED 方案的碾压式超越,效果直逼卡片相机。
遗憾的是,氙气闪光灯因体积、功耗大、无法连续点亮的劣势,最终逐渐被手机厂商放弃,重新回归 LED 闪光灯的阵营。
在 LED 闪光灯研发上,最有代表性的例子是 Apple。例如,iPhone 5S 的双色温闪光灯,提升照片白平衡准确度;iPhone 7 系列面世后,四合一 LED 闪光灯让亮度和色温控制更精确;iPhone X 支持相机专属的夜景人像闪光;iPhone Xs 通过增加灯珠数量,升级透镜,灯的均匀性和显色性更上一层楼。
关于 LED 闪光灯的迭代,Apple 似乎从未停止,最新推出的 iPhone 14 Pro 将 LED 闪光灯的能力推至「支持变焦」级别,官方称为自适应 True Tone。
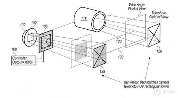
「自适应 True Tone 闪光灯」,换一种理解是可根据拍摄物体距离闪烁不同范围/强度的光,例如在拍摄大场景时光往往需要散射更广,而在人物特写上则希望光线能集中,使人物脱离于背景。
通过 iPhone 14 Pro 和 iPhone 13 Pro LED 闪光灯拆解可见,iPhone 14 Pro 的透镜由左右分布改为同心圆扩散,尺寸也增加一圈,尽可能地利用菲涅尔透镜原理获得更远的发射距离。但要实现不同距离/角度的打光,仅靠灯珠功率和透镜显然不够,所以真正的奥秘在发光片上。
掀开透镜,内部结构一目了然,iPhone 13 Pro 是将灯珠分为冷暖两片,而 iPhone 14 Pro 则将整块灯源切割成不同尺寸,拍摄时依据拍摄物体的焦距调整九个 LED 的组合。并且新的闪光灯在亮度上更高,主摄获得 2 倍提升,超广角 3 倍。
实际上,苹果申请一项更为激进的闪光灯专利,通过马达控制内部透镜移动,改变光线的发散角度,从而实现不同效果的打光。但,这项方案最终未能落地,或许是闪光灯模组体积限制。
更有意思的是,早在 2013 年,Apple 曾想通过多设备联动方案,将多部 iPhone 同时为拍摄场景打光,如此一来,多组合的灯源能获得更好的立体感,在专业广告拍摄中十分常见。以苹果的生态互通性,不妨期待未来的软件升级。
手机闪光灯还能怎么用?
专业的手电筒有个特殊能力,通过旋转灯头圆环可控制光线范围,其原理是改变透镜与灯泡的距离。那么这次 iPhone 14 Pro 的自适应 True Tone 能力,是否能让手电筒更专业一点?
确实可以,但不多。对比 iPhone 13 Pro 与 iPhone 14 Pro 的手电筒照明,后者光线更聚焦,光线不会往四周散开太多,所以在照明距离上会稍远一点。
另外,三星在 Galaxy S5 时就印证了闪光灯的心率测量能力,只需将手指同时覆盖闪光灯和镜头,让强光照射手指透光,摄像头检测到手指的血流形态给出结果。
说出来有些奇幻,闪光灯甚至附带娱乐属性。LED 闪光灯还经常出现在演唱会现场,例如逃跑计划演唱《夜空中最亮的星》时,歌迷们会不约而同地打开闪光灯挥舞,让演唱会现场形成壮丽的星河。
回到自适应 True Tone 技术上,通过发布会 iPhone 14 Pro 的闪光灯演示片可见,这块 9 宫格的灯珠可通过多种组合,改变光线的散射角度。目前演示片只展示了 3 种,由于拍摄器材原因,笔者暂无法得知是否存在更多组合。
那么灯珠触发机制靠什么?焦段切换、预闪、还是 LiDAR 激光雷达?
从 Apple 公开的专利来看,自适应 True Tone 技术并没有提到 LiDAR,而是注明来自相机的自动对焦信息。这表明,灯珠的触发机制很有可能是依据摄像头计算和物体距离,与镜头切换、LiDAR 都没关系。
在实拍测试阶段,笔者也尝试挡住 LiDAR 传感器,同一焦段前后拉近距离,iPhone 14 Pro 的闪光灯依旧能打出对应策略光线。由此,基本可以判断触发机制由图像识别完成。
既然 Apple 费这么大的心思在闪光灯上,消费者当然更关注到底提升多少?与前代区别大吗?
以下组样张可见,iPhone 14 Pro 超广角镜头面对大场景拍摄时,左边的白柜子和右边的红色集装箱光线分布均匀,远处的景物并没有照亮,可见灯源主要集中在前景。而切换到主摄,光线明显收窄,远处的景物被打亮,并且灯源更聚焦、更亮,从右侧的铁箱的高光区域可见。
有意思的是,iPhone 13 Pro 在同场景下主摄也拍到了远处的景物,明明不具备闪光灯变焦能力,它是如何实现的?
实际上,iPhone 13 Pro 闪光灯无法打到的远处,是靠后期算法拉起来的,iPhone 相机会根据画面实际情况进行处理。将照片放大后画质差异可见,iPhone 14 Pro 远处因为有光的照射细节更清晰,并且涂抹算法没有过多介入,噪点明显。
而 iPhone 13 Pro 完全是计算摄影在作用,算法涂抹感严重,这样的例子在多处样张可见。
超广角依旧是 iPhone 14 Pro 布光更均匀,人物面部硬光源较少,上衣颜色还原准确,相比之下 iPhone 13 Pro 人物皮肤有些许苍白。
切换到主摄,样张的情况与超广角接近,iPhone 14 Pro 人物面部打光更好,肤色有红润感,同时背景的黄灯没有被算法干扰,不至于强拉饱和度,让人物稍稍脱离背景以达到突出效果。
以现场肉眼观察,背景的黄灯更接近 iPhone 14 Pro 呈现的画面,此时 iPhone 13 Pro 算法有些帮倒忙。
拉到长焦,画面除了布光外差异外,我们可以在其中发现更多色彩还原上的差异,包括人脸肤色、上衣、可乐瓶在内,iPhone 14 Pro 均还原了最接近实际观感。
在发现两者闪光灯色彩还原差异后,我们把注意力放在画面观感上,发现了更多细节。
例如同一环境近距离拍摄湖边的花朵,iPhone 13 Pro 开启闪光灯后画面出现了明显偏冷,湖水的浅绿直接拍成深蓝,红黄相融的花朵也像褪了色似的,整体画面泛白。而 iPhone 14 Pro 的画面则真实许多,尤其是花朵的色彩与肉眼几乎一致。
再比如下图,远处钓鱼竿位置有一盏昏黄的路灯照亮,此处的观感应该是偏黄且有高亮区域,但 iPhone 13 Pro 却通过错误的算法平均了光照,不仅高亮区域被抹除,色温也调成灰冷调,和笔者拍摄的实际环境差异甚大,真实的环境参照 iPhone 14 Pro。
注意,如果佩戴的保护壳镜头位置为精孔,自适应 True Tone 闪光灯的光线扩散会受限,导致在大场景拍摄时补光范围缩小一圈。为保证闪光灯充分发挥,务必选购镜头为大开孔的保护壳。
根据以上样片分析,iPhone 14 Pro 上的自适应 True Tone 闪光灯确实带来了不小提升,原本固定式的打光方式被打破,用户随意按下快门,能获得相比前代光线、色彩还原、立体感更好的成像。与此同时,拍摄时介入的算法也会降低,导致有肉眼可见噪点。
但,从使用角度来看,有个不争的事实,iPhone 14 Pro 闪光灯再好多数人也只当「手电筒」用。早在索尼爱立信 K750 上,消费者便将其代替了口袋里的手电筒,该功能甚至让手电筒成为闪光灯的代名词。
闪光灯少人用,计算摄影搞得鬼
从惊艳登场,到实用小工具,闪光灯在拍照上的低使用率,与计算摄影和感光元器件增大分不开关系。
2018 年 Google 首次在 Pixel 系列引入 Night Sight 新算法,向硬件的上限发起挑战。Pixel 3 通过光流法测量场景运动,自动调整曝光降低糊片概率,然后用短帧作为对齐参考帧,在极短时间内合成一张细节清晰可见的夜间照片。
因效果过于夸张,Google 当时一度饱受作假嫌疑,直到消费者拿到了 Google Pixel 3。例如这张伸手难见五指的小院,Google Pixel 3 在手持拍摄下,只需等待几秒便可获得一张宛如白日的成像。
计算摄影的出现,一定程度上让成像不再受限于硬件边界,消费者随手就能获得光线充足的照片,自然也就没有打开闪光灯的必要,何况闪光灯效果未必比得上计算摄影。
与此同时,近些年手机上大底的趋势也让闪光灯被进一步遗忘。例如,小米 11 Ultra、iPhone 14 Pro Max 都安上了大底传感器,大底使得进光量大幅增加,在暗光场景中即便不开启夜间模式,也能获得不错的进光量。
由此,成像硬件的提升加上计算摄影的想象力,让闪光灯开启选项逐渐被遗忘在拍摄页面上。
苹果的护城河,越建越宽
手机已经与闪光灯共处了 20 年历史,无论是直板、翻盖、侧滑、还是折叠屏,它都形影不离地出现在摄像头隔壁。如今,在拍照时已经越来越少人想起开闪光灯了,但它会被厂商砍掉吗?
在手机品类上我们见证了 3.5mm 耳机口的消失,相机快门键被整合,它们被抛弃的共性是占空间、功能属性易替代。而闪光灯功能是多属性难以被取代的,少了它,会牺牲一连串用户多年来养成的习惯,在不节省空间的情况下盲目砍掉,无疑得不偿失。
从另一方面来讲,闪光灯逐渐被遗忘在相机页面,为什么 Apple 还在不断改进?
每当新 iPhone 亮相,人们总是讨论外观上的变化,有没有功能点突破,而忽略了一个事实,那就是手机形态已经基本定型了。Apple 在看得见的层面可发力不多,自然将重心转到内在能力,iPhone 14 Pro 自适应 True Tone 闪光灯便是其中一个鲜明代表。
更准确的打光方案,更符合实际环境的色彩还原,一点点提升积累自然造就综合影像素质最好的手机之一,这便是 Apple 一直强调的护城河建设。相比之下,其它厂商往往将研发集中在消费者感知明显的地方上,而忽视了细节点,它能成为短跑冠军,但拿不下铁人三项。
当 Android 阵营的息屏显示已推出好几年,Apple 姗姗来迟,但思路又完全不一样;当高刷新率开始普及但饱受耗电困扰时,iPhone 13 Pro 高刷反而省电;而今年带来的 True Tone 闪光灯亦是如此,用一个奇妙的方案实现了不同效果布光,解决了闪光灯无法调整范围的困局。
在笔者看来,创新未必非得从零到一,而是看解决的问题是否具备革新性,从这一点看,True Tone 闪光灯实至名归。
