邓志华 郭广银 郑波涛 王新 刘思源
广州市高速公路有限公司 保利长大工程有限公司 北京华路安交通科技有限公司
摘 要:桥梁伸缩缝位置是交通安全防护的薄弱环节,需要设置安全可靠且可协同伸缩的特殊护栏结构,并进行合理评价。为此,以横门西特大桥为依托,结合工程实际条件及相关科研成果,采用计算机仿真模拟技术,研究桥梁伸缩缝位置护栏结构设计方案,并依据规程要求,对其进行结构安全性能仿真评价和车辆乘员适应性能仿真评价。仿真评价结果表明:桥梁伸缩缝位置护栏结构方案具有良好的安全防护性能,防护能力达到六(SS)级;桥梁伸缩缝位置护栏结构方案具有良好的车辆乘员适应性能,在碰撞过程中可以对不同类型车辆及乘员进行有效防护。所得成果可提升大桥伸缩缝位置的安全防护水平,为同类工程提供设计参考。
关键词:桥梁伸缩缝位置护栏;计算机仿真;结构安全性能评价;车辆乘员适应性能评价;
1 概述
伸缩缝是桥面系的重要构件,主要作用是调节由车辆荷载和桥梁构件所引起的上部结构之间的位移和联结,通常设置在两梁端之间、梁端与桥台之间或桥梁的铰接位置上,见图1。
图1 桥梁伸缩缝 下载原图
《公路交通安全设施设计规范》(JTG D81—2017)[1]规定,桥梁护栏应随桥梁主体结构设置伸缩缝,且桥梁护栏横梁的伸缩缝设计要与桥梁伸缩缝的位移相一致,在横梁伸缩缝位置,一方面要保证桥梁能自由地伸缩变形;另一方面要考虑桥梁护栏的结构连续性。
伸缩缝属于交通安全防护的薄弱位置,伸缩缝位置护栏则是该位置交通事故的最后一道防线。若伸缩缝位置护栏防护能力不足或结构设计不合理,将无法对事故车辆进行有效防护,极易发生车辆严重绊阻,见图2,甚至冲出桥外的恶性事故,对车辆、乘员、桥梁主体、桥下水域的安全带来严重威胁。
图2 伸缩缝位置事故形态示例 下载原图
横门西特大桥为南沙至中山高速公路项目控制性工程,见图3。建成后将成为国内最大跨径独塔斜拉桥,跨径全长912 m, 采用双向6车道,设计速度100 km/h。该项目主桥两端分别衔接引桥,衔接位置设有伸缩缝,根据设计规范要求及伸缩缝位置使用功能需求,结合工程实际条件(桥梁护栏形式及防护等级、伸缩缝距离、伸缩量要求等),在伸缩缝位置设置安全可靠且可协同伸缩的特殊护栏结构。
图3 横门西特大桥 下载原图
因此,依托大桥建设工程,采用计算机仿真模拟技术,研究提出桥梁伸缩缝位置护栏结构设计方案,并依据《公路护栏安全性能仿真评价技术规程》(T/GDHS 001—2020)[2]要求,对其进行结构安全性能仿真评价和车辆乘员适应性能仿真评价,提升大桥伸缩缝位置的安全防护水平,并为同类工程提供设计参考。
2 仿真可靠性验证及评价方法
2.1仿真模型可靠性验证
按车辆实际尺寸建立微型轿车、小型客车、越野车、七座商务车、大型客车及大型货车的仿真模型,见图4(a)。其中,车身以四边形单点积分壳单元为主,并控制四边形单元翘屈度小于15,长宽比小于4,角度介于45°~135°,三角形单元数量小于5%,最小特征长度5 mm左右;通过试验获得车辆材料属性,采用Cowper-Symons模型考虑材料应变率效应;小型车轮胎胎压0.3 MPa, 大型车轮胎胎压0.8 MPa; 采用基于惩罚函数法Automatic_Single_Surface接触类型解决边界非线性问题[3]。图4(b)为车辆碰撞护栏过程的仿真与试验对比,由图4(b)可以看出,仿真与试验的车辆运行轨迹、行驶姿态及损坏情况基本一致,验证了车辆模型的准确性和可靠性。
图4 车辆仿真模型建立及可靠性验证 下载原图
按设计建立桥梁标准段护栏和伸缩缝位置护栏仿真模型,见图5(a)。其中,钢结构采用shell单元,材料采用非线性材料,螺栓采用Beam单元,材料采用线性材料,护栏模型共约25.0万个单元,25.8万节点。图5(b)为车辆碰撞后护栏变形的仿真与试验对比,由图5(b)可以看出,护栏变形损坏情况基本相似,验证了护栏模型的准确性和可靠性。
2.2仿真评价方法
《公路护栏安全性能仿真评价技术规程》[2]给出了适用于伸缩缝位置护栏结构安全性能仿真评价和车辆乘员适应性能仿真评价的具体方法。
(1)伸缩缝位置护栏结构安全性能仿真评价时,应符合的要求为:
采用与模型验证时同种类型的仿真模拟软件;车辆模型应与模型验证时一致,且车辆模型总质量、几何尺寸、重心位置等主要技术参数应符合《公路护栏安全性能评价标准》(JTG B05-01—2013)[4]要求;护栏模型的结构尺寸、材料性能指标、基础和设置条件等应与设计图一致,护栏模型结构长度应与《公路护栏安全性能评价标准》[4]要求一致;车辆碰撞护栏系统总能量变化不得超过5%,沙漏能量不得超过系统初始总能量5%,系统总质量增加不得超过5%;护栏应同时满足《公路护栏安全性能评价标准》[4]中阻挡功能、缓冲功能和导向功能对应的指标要求,方可认定达到相应的防护等级。
图5 标准段和伸缩缝位置护栏仿真模型建立及可靠性验证 下载原图
同时,根据仿真结果,按照表1对伸缩缝位置护栏结构安全性能进行评价。
表1 伸缩缝位置护栏结构安全性能评价 下载原图
注:“护栏安全性能指标结果”满足指标要求时,用“○”表示,反之用“
”表示。
(2)伸缩缝位置护栏车辆乘员适应性能仿真评价时,应符合的要求为:
在车辆模型驾驶席上设置假人模型,并配带有效安全带;可根据公路交通流特征确定碰撞车型;护栏的碰撞角度和碰撞点位置、阻挡功能和导向功能指标应符合现行《公路护栏安全性能评价标准》[4]的要求;缓冲功能指标应符合假人头部性能指标HPC≤1 000、假人胸部压缩指标ThCC≤75 mm、假人大腿压缩力指标FFC≤10 kN的要求。
同时,根据仿真结果,按照表2对伸缩缝位置护栏车辆乘员适应性能进行评价。
表2 伸缩缝位置护栏车辆乘员适应性能评价 下载原图
注:满足评价指标要求时,用“○”表示,反之用“
”表示,“—”表示忽略该项。
高精度的仿真模型和标准规定的评价方法为桥梁伸缩缝位置护栏结构设计与评价奠定了坚实工作基础。
3 桥梁伸缩缝位置护栏结构设计
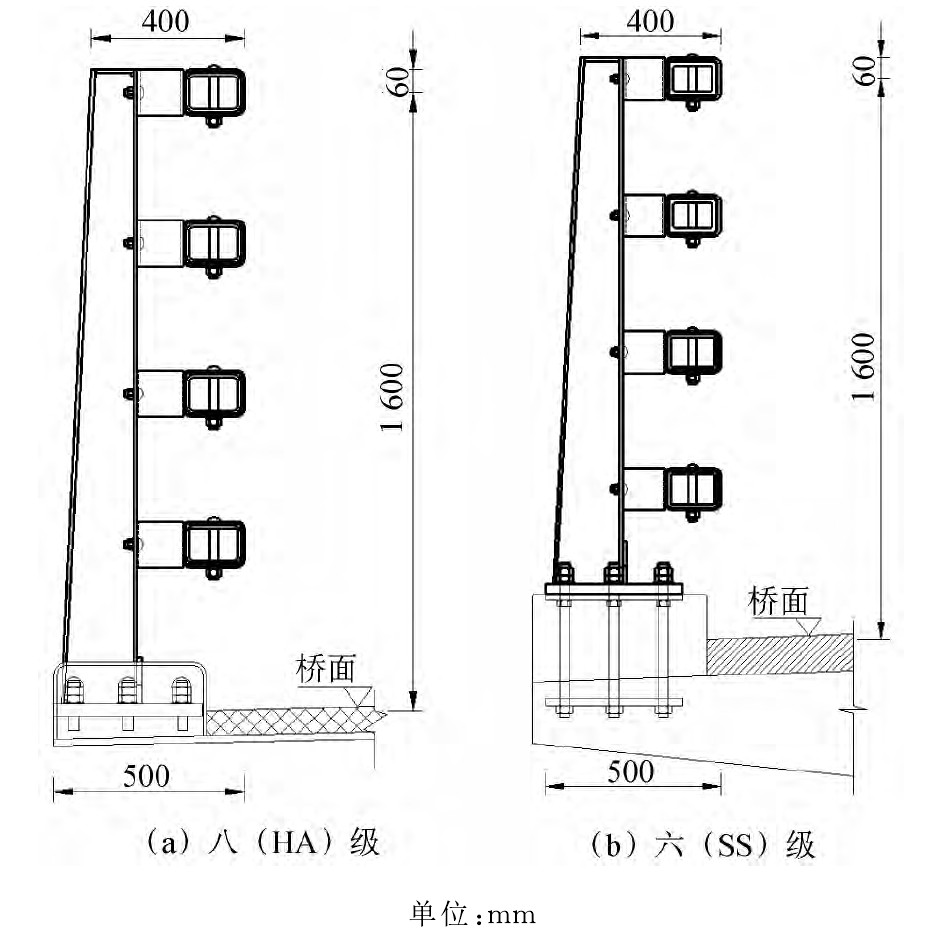
根据设计文件,大桥伸缩缝位置间距1 120 mm, 最大位移量±400 mm。本文从最不利角度出发,以伸缩缝距离最大值1 520 mm为研究对象,开展伸缩缝位置护栏的结构设计与综合评价,以达到桥梁主体自由伸缩和护栏连续有效防护的目的。同时,伸缩缝位置两端桥梁护栏结构形式均为梁柱式型钢护栏,一端防护等级为八(HA)级[5];另一端防护等级为六(SS)级,见图6。根据《公路交通安全设施设计规范》[1]第6.2.14条规定,伸缩缝护栏的防护等级应不低于所连接护栏中较低的防护等级,因此选取大桥伸缩缝位置护栏防护等级六(SS)级。
基于以往经验[6],结合工程实际使用功能需求,从安全经济、协调适用角度出发,提出了伸缩缝位置护栏结构设计方案,见图7。该方案主要由端部立柱、加强焊接斜撑和伸缩缝位置连接内套管组成,端部相邻立柱的背部设置加强焊接斜撑,斜撑为矩形管160 mm×120 mm×10 mm, 与伸缩缝端部立柱协同受力,增加结构强度;伸缩缝位置水平连接内套管采用嵌于护栏横梁内的形式,上两层连接内套管为矩形管136 mm×96 mm×12 mm、长度2 170 mm, 下两层连接内套管为矩形管144 mm×104 mm×8 mm、长度2 170 mm, 且连接内套管的上、下管壁各开设两个610 mm长孔,以满足伸缩量的需求。
图6 伸缩缝两端桥梁护栏结构形式 下载原图
图7 桥梁伸缩缝位置护栏结构设计方案 下载原图
4 桥梁伸缩缝位置护栏结构安全性能仿真评价
基于桥梁伸缩缝位置护栏结构形式,依据《公路护栏安全性能仿真评价技术规程》要求建立桥梁伸缩缝位置护栏仿真模型。按六(SS)级碰撞条件,即1.5 t小型客车、碰撞速度100 km/h、碰撞角度20°;18 t大型客车、碰撞速度80 km/h、碰撞角度20°;33 t大型货车、碰撞速度60 km/h、碰撞角度20°,开展伸缩缝位置护栏结构安全性能仿真评价,见图8。
图8 小型客车、大型客车、大型货车碰撞桥梁伸缩缝位置护栏模型 下载原图
(1)阻挡和导向功能。
图9为小型客车、大型客车、大型货车碰撞伸缩缝位置护栏的仿真结果,可见碰撞后车辆没有穿越、翻越、骑跨护栏现象,车辆顺利驶出且恢复正常行驶姿态,满足导向驶出框要求,阻挡和导向功能良好。
(2)缓冲功能。
小型客车纵向和横向乘员碰撞后加速度分别为69 m/s2、98.5 m/s2,均小于200 m/s2,纵向和横向乘员碰撞速度分别为5.6 m/s、5.9 m/s, 均小于12 m/s, 护栏的缓冲功能良好。
(3)护栏变形和车辆外倾。
小型客车、大型客车、大型货车碰撞后,伸缩缝位置护栏变形及车辆外倾情况见表3。
根据上述仿真评价结果,得到评价结论为:桥梁伸缩缝位置护栏结构安全性能满足六(SS)级防护等级要求。
5 桥梁伸缩缝位置护栏车辆乘员适应性能仿真评价
基于实际工程交通流特性,依据《公路护栏安全性能仿真评价技术规程》要求,采用1 t微型轿车、碰撞速度100 km/h、碰撞角度20°;2.3 t越野车、碰撞速度100 km/h、碰撞角度20°;2.3 t七座商务车、碰撞速度100 km/h、碰撞角度20°,且车内增添假人模型,进而开展伸缩缝位置护栏车辆乘员适应性能仿真评价,见图10。
图9 桥梁伸缩缝位置护栏结构安全性能仿真评价结果 下载原图
表3 小型客车、大型客车、大型货车碰撞后,伸缩缝位置护栏变形及车辆外倾情况 导出到EXCEL
m
项目 | 护栏最 | 护栏最大横向 | 车辆最 | 车辆最大 |
| 0.039 | 0.595 | — | — |
| 0.414 | 0.900 | 0.648 | 0.856 |
| 0.315 | 0.809 | 0.624 | 0.729 |
图10 微型轿车、越野车、七座商务车碰撞伸缩缝位置护栏仿真模型 下载原图
(1)阻挡和导向功能。
图11为微型轿车、越野车、七座商务车碰撞伸缩缝位置护栏的仿真结果。
图11 桥梁伸缩缝位置护栏车辆乘员适应性能仿真评价结果 下载原图
可见碰撞后车辆没有穿越、翻越、骑跨护栏现象,车辆顺利驶出且恢复正常行驶姿态,满足导向驶出框要求,阻挡和导向功能良好。
(2)缓冲功能。
微型轿车、越野车、七座商务车碰撞伸缩缝位置护栏过程中,假人头部性能指标HPC≤1 000、胸部压缩指标ThCC≤75 mm、大腿压缩力指标FFC≤10 kN,均小于标准值,见表4,说明缓冲功能指标满足要求,不会对乘员造成严重伤害。
表4 微型轿车、越野车、七座商务车碰撞过程中,缓冲功能指标数据 导出到EXCEL
| 假人头部 | 假人胸部压缩 |
| |
| 右腿 | |||
微型轿车 | 165.3 | 4.6 | 2.486 | 1.720 |
| 797.9 | 4.8 | 4.529 | 2.346 |
| 783.1 | 5.2 | 1.576 | 0.703 |
(3)护栏变形。
微型轿车、越野车、七座商务车碰撞后,伸缩缝位置护栏变形情况见表5。
根据上述仿真评价结果,得到评价结论为:桥梁伸缩缝位置护栏的车辆乘员适应性能优秀。
表5 微型轿车、越野车、七座商务车碰撞后,伸缩缝位置护栏变形情况 导出到EXCEL
| 护栏最大动态 | 护栏最大横向动态位移 |
| 0.047 | 0.595 |
| 0.154 | 0.595 |
| 0.141 | 0.595 |
6 结语
综上所述,本文研究提出的横门西特大桥伸缩缝位置桥梁护栏结构设计方案具有良好的结构安全性能和车辆乘员适应性能,防护能力达到六(SS)级,满足《公路护栏安全性能仿真评价技术规程》(T/GDHS 001—2020)要求,可实现桥梁主体自由伸缩及护栏连续防护的功能需求。所得成果可更好地指导大桥伸缩缝位置护栏的合理设计与安全应用,提升大桥伸缩缝位置的安全防护水平,为同类工程提供设计参考。
参考文献
[1] JTG D81—2017 公路交通安全设施设计规范[S].
[2] T/GDHS 001—2020 公路护栏安全性能仿真评价技术规程[S].
[3] 闫书明.有限元仿真方法评价护栏安全性能的可行性[J].振动与冲击,2011,30(1):152-156.
[4] JTG B05-01—2013 公路护栏安全性能评价标准[S].
[5] 裴大军,彭晓彬,龚帅,等.缆索承重桥梁专用高等级型钢护栏研发[J].中外公路,2021,41(3):403-406.
[6] 汤天明,亢寒晶,邓宝,等.大位移量桥梁伸缩缝处护栏设计研究[J].世界桥梁,2020,48(4):11-15.
声明:我们尊重原创,也注重分享。有部分内容来自互联网,版权归原作者所有,仅供学习参考之用,禁止用于商业用途,如无意中侵犯了哪个媒体、公司、企业或个人等的知识产权,请联系删除,另本头条号推送内容仅代表作者观点,与头条号运营方无关,内容真伪请读者自行鉴别,本头条号不承担任何责任。
